H Samsung σχεδιάζει να εξαφανίσει την τσάκιση στην οθόνη του Samsung Galaxy Z Fold 5
H Samsung πιστεύει πολύ στην κατηγορία των αναδιπλούμενων «έξυπνων» τηλεφώνων και θα συνεχίσει να επενδύει στη σειρά Fold και Flip.
Η κορεατική ιστοσελίδα Naver δημοσίευσε ένα άρθρο που αναφέρει ότι η γνωστή εταιρεία θέλει να βελτιώσει ακόμη περισσότερο την οθόνη στο Samsung Galaxy Z Fold 5, κάνοντας σχεδόν αόρατη την τσάκιση.
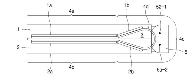
Αυτό θα επιτευχθεί μέσω ενός νέου μεντεσέ τύπου «σταγόνα» που θα κάνει την οθόνη να μην κλείνει με τσάκιση, αλλά κάνοντας ένα σχήμα πιο κυκλικό.
Όπως φαίνεται, η Samsung κατοχύρωσε το 2016 μια σχετική πατέντα, αλλά δεν την είχε αξιοποιήσει μέχρι σήμερα σε κάποιο μοντέλο της.

Μία ιδέα γιατί δεν έχει συμβεί αυτό σημειώνει η ιστοσελίδα SamMobile, η οποία τονίζει πως η Samsung περίμενε να φέρει το πρότυπο αδιαβροχοποίησης στα foldables της, κάτι που έγινε στα μοντέλα του 2021.
Τα επόμενα αναδιπλούμενα smartphones της Samsung αναμένονται το καλοκαίρι, καθώς προτεραιότητα έχουν αυτή τη στιγμή τα μοντέλα της σειράς Samsung Galaxy S23 και για τα οποία περιμένουμε το σχετικό Samsung Galaxy Unpacked event την 1η Φεβρουαρίου.