Η Porsche σχεδιάζει επαναστατικό 6χρονο κινητήρα
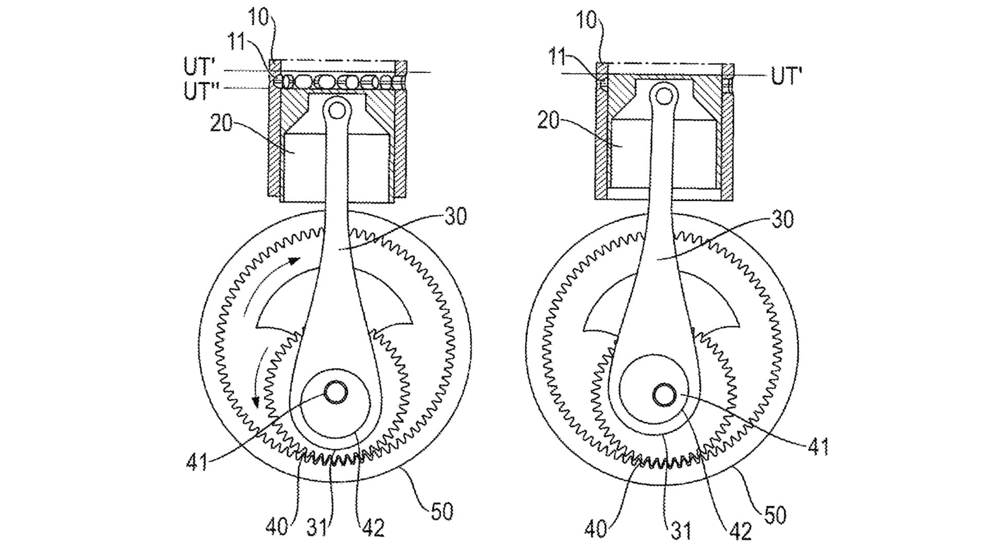
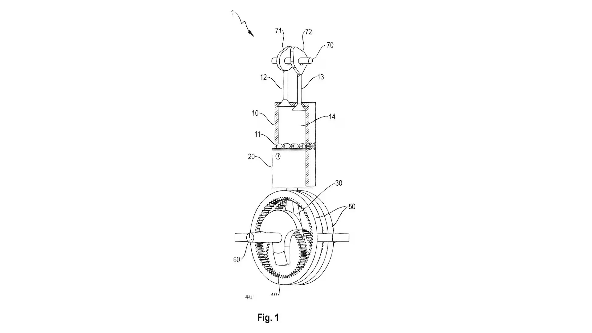
Η Porsche παρουσίασε έναν πατενταρισμένο κινητήρα εσωτερικής καύσης έξι κύκλων, ο οποίος ενδέχεται να αποτελέσει την επόμενη μεγάλη καινοτομία στις μηχανές εσωτερικής καύσης. Σε αντίθεση με τους παραδοσιακούς τετραχρόνους κινητήρες, οι οποίοι ακολουθούν τη διαδικασία εισαγωγής, συμπίεσης, εκτόνωσης και εξαγωγής, η Porsche πρόσθεσε δύο επιπλέον κύκλους: έναν επιπλέον κύκλο συμπίεσης και έναν κύκλο εκτόνωσης, ανάμεσα στους αρχικούς κύκλους εκτόνωσης και εξαγωγής.
Αυτός ο νέος 6χρονος κινητήρας λειτουργεί ως εξής:
- Πρώτη σειρά: Η κλασική διαδικασία εισαγωγής, συμπίεσης και εκτόνωσης.
- Δεύτερη σειρά: Ένας δεύτερος κύκλος συμπίεσης και εκτόνωσης ακολουθεί πριν την εξαγωγή των καυσαερίων.
Η ιδέα αυτή επιτυγχάνεται μέσω ενός ειδικού στροφάλου που λειτουργεί με πλανητικό γρανάζι, επιτρέποντας δύο διαφορετικές θέσεις άνω και κάτω νεκρού σημείου για το έμβολο. Αυτή η εναλλαγή επιτρέπει τον πρόσθετο κύκλο συμπίεσης και εκτόνωσης, καθιστώντας την καύση πιο πλήρη και αποδοτική.
Ο στόχος του κινητήρα είναι να βελτιώσει την απόδοση, μειώνοντας ταυτόχρονα τις εκπομπές ρύπων και αυξάνοντας την ισχύ. Όπου ένας τετράχρονος κινητήρας παράγει ισχύ μόνο σε έναν από τους τέσσερις κύκλους, ο εξάχρονος κινητήρας παράγει ισχύ σε έναν από τους τρεις κύκλους, προσφέροντας καλύτερη αποδοτικότητα και μεγαλύτερη απόδοση καυσίμου.

Γιατί τόσος κόπος
Η προσθήκη αυτών των δύο επιπλέον κύκλων προσφέρει τη δυνατότητα να παραχθεί περισσότερη ισχύς και να γίνει καλύτερη καύση του μείγματος. Σε έναν τυπικό τετράχρονο κινητήρα, μόνο ένας από τους τέσσερις κύκλους παράγει ισχύ, ενώ στον εξάχρονο, ένας στους τρεις κύκλους παράγει ισχύ, καθιστώντας τον κινητήρα πιο αποδοτικό και ισχυρό.
Ωστόσο, η μεγαλύτερη πολυπλοκότητα που συνεπάγεται ο σχεδιασμός αυτός ενδέχεται να εγείρει ανησυχίες σχετικά με την πρακτική του εφαρμογή, καθώς και τη μακροχρόνια αξιοπιστία του. Ουσιαστικά, η Porsche στοχεύει στην καλύτερη καύση και στη μείωση της κατανάλωσης καυσίμου, ενώ παράλληλα διατηρεί την απόδοση που αναζητούν οι φίλοι της μάρκας.

Ποιο είναι το μέλλον
Παρότι η Porsche έχει πατεντάρει τον κινητήρα αυτό, είναι πιθανό ότι η ιδέα μπορεί να μην εφαρμοστεί ποτέ μαζικά, όπως συχνά συμβαίνει με πολλές τεχνολογίες που αναπτύσσονται στα αρχικά στάδια. Ωστόσο, η κίνηση αυτή δείχνει ξεκάθαρα την αφοσίωση της Porsche να συνεχίσει να εξελίσσει τους κινητήρες εσωτερικής καύσης, παρά την αυξανόμενη έμφαση στην ηλεκτροκίνηση.
Σε έναν κόσμο που κινείται όλο και περισσότερο προς την ηλεκτροκίνηση, η Porsche δεν αφήνει πίσω της τις παραδοσιακές τεχνολογίες, προσπαθώντας να τις κάνει πιο αποδοτικές και ισχυρές από ποτέ. Ο εξαχρονός κινητήρας της, αν ποτέ υλοποιηθεί, θα μπορούσε να αποτελεί μια από τις τελευταίες μεγάλες καινοτομίες στον κόσμο των κινητήρων εσωτερικής καύσης.
Φωτογραφίες: Porsche
Ακολουθήστε την σελίδα του gMotion στο Facebook!