BMW Motorrad: Μια ματιά στο ηλεκτρικό της μέλλον

Νίκος Βιτσιλάκης
BMW Motorrad: Μια ματιά στο ηλεκτρικό της μέλλον
Ένα δίπλωμα ευρεσιτεχνίας μάς δείχνει πως η BMW βρίσκεται σε προχωρημένο στάδιο ανάπτυξης μιας ηλεκτρικής μοτοσικλέτας με αρθρωτό μονοκόκ πλαίσιο.

Η BMW, ανάμεσα στους λεγόμενους μεγάλους κατασκευαστές, βρίσκεται στην πρώτη γραμμή όσον αφορά στην εξέλιξη και παραγωγή ηλεκτρικών μοντέλων, αλλά εδώ και δέκα χρόνια έχει παραμείνει στον κόσμο των σκούτερ. Η αρχή έγινε με το μεγάλο σε όγκο C evolution, που έφτασε για πρώτη φορά στους εκθεσιακούς χώρους πριν από μια δεκαετία, πολύ πριν οι περισσότεροι από τους ανταγωνιστές ακολουθήσουν τα δικά τους ηλεκτρικά μονοπάτια. Το C evolution αντικαταστάθηκε από τα σημερινά CE 04 και CE 02, αλλά μοτοσικλέτα ακόμα δεν έχουμε δει, μόνο κάτι πρωτότυπα όπως το πολύ φουτουριστικό Vision DC και το πιο γήινο E-Power, τα οποία έκαναν την πρώτη τους εμφάνιση το 2019.

BMW MotorradΦωτογραφίες: BMW Motorrad

Έκτοτε, απλά ξέραμε ότι ήταν θέμα χρόνου τα πρωτότυπα να μας οδηγήσουν σε κάποιο μοντέλο εμπορίου και να που τώρα επαληθευόμαστε μέσα από την ίδια τη BMW. Άλλωστε το είχαν πει οι ίδιοι οι Γερμανοί όταν μας τα πρωτο-έδειξαν, πως δηλαδή μια αστική ηλεκτρική μοτοσικλέτα θα μπορούσε να είναι έτοιμη σε πέντε χρόνια. Άρα, λέμε εμείς, 2019 + 5 μας κάνει 2024, ήγγικεν η ώρα. Επιβεβαιώνεται βέβαια και από το γεγονός ότι το 2020 η BMW Motorrad κατοχύρωσε μια σειρά εμπορικών σημάτων για ηλεκτρικά σκούτερ (CE) και μοτοσυκλέτες (DC). Τα δύο πρώτα μοντέλα CE είναι ήδη στις εκθέσεις, οπότε σίγουρα η γκάμα DC δεν είναι μακριά.

BMW MotorradΦωτογραφίες: BMW Motorrad

 

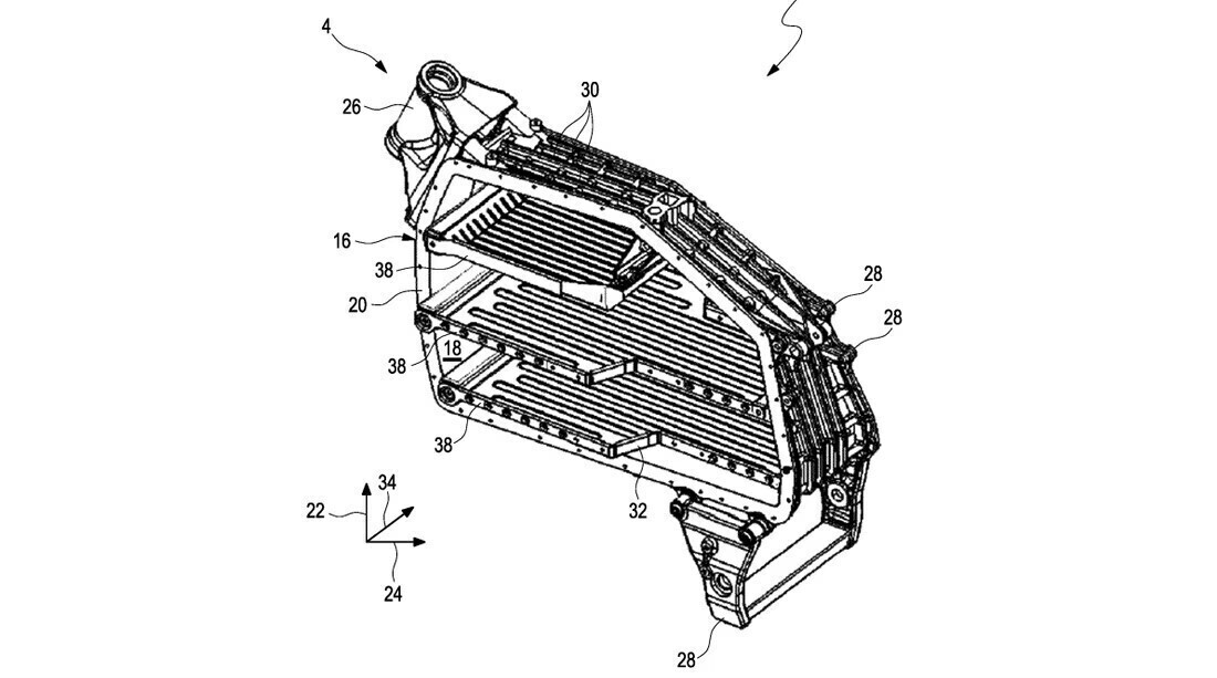
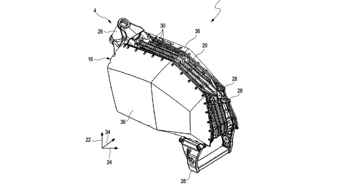
Aν και το 2023 η BMW κατέθεσε διπλώματα ευρεσιτεχνίας για μια μικρή ηλεκτρική μοτοσυκλέτα με βάση τη γκάμα G 310 (R/GS), τα τελευταία έγγραφα που μόλις δημοσιεύθηκαν δείχνουν κάτι πολύ μεγαλύτερο και και με υψηλότερες επιδόσεις. Το project ακολουθεί το δρόμο της χρήσης μονοκόκ δομής πλαισίου με αρθρωτή διάταξη, που επιτρέπει την αποσύνδεση της κεφαλής του τιμονιού και των περιστρεφόμενων τμημάτων του ψαλιδιού από το κύριο κεντρικό στοιχείο. Αυτό σημαίνει ότι τα ίδια ηλεκτρονικά και πακέτα μπαταριών, όπως και το δομικό περίβλημά τους, μπορούν να χρησιμοποιηθούν σε μια σειρά διαφορετικών κατηγοριών μοντέλων, χωρίς να απαιτείται σημαντικός επανασχεδιασμός.

BMW MotorradΦωτογραφίες: BMW Motorrad

Το δίπλωμα ευρεσιτεχνίας δείχνει μια δομική θήκη που είναι χτισμένη γύρω από ένα κεντρικό τμήμα τριών επιπέδων, με στρώματα για τις μπαταρίες καθώς και τα ηλεκτρονικά συστήματα ελέγχου και φόρτισης, τα οποία είναι τοποθετημένα ανάμεσα στα πλαϊνά καλύμματα. Σε αντίθεση με τις αρθρωτές, δομικές θήκες μπαταριών που χρησιμοποιούνται στα επερχόμενα μοντέλα Pulse και Origin των LiveWire Del Mar και Can-Am, η σχεδίαση της BMW αναφέρεται σε τοποθέτηση αυτών πάνω από ένα διαμήκη κινητήρα. Αυτή είναι μια διάταξη που η BMW παρουσίασε σε προεπισκόπηση στο Vision DC Roadster και σε ένα σύνολο ευρεσιτεχνιών του 2021 και είναι κατάλληλη για το είδος της τελικής μετάδοσης κίνησης μέσω άξονα, έτσι όπως χρησιμοποιείται και στις μοτοσικλέτες της εταιρείας με κινητήρα Boxer.

BMW MotorradΦωτογραφίες: BMW Motorrad

Τι θα δούμε τελικά; Ο χρόνος θα δείξει και μάλλον είναι κοντά η μέρα.

BMW MotorradΦωτογραφίες: BMW Motorrad

Ακολουθήστε την σελίδα του gMotion στο Facebook!